| Administratie | Alimentatie | Arta cultura | Asistenta sociala | Astronomie |
| Biologie | Chimie | Comunicare | Constructii | Cosmetica |
| Desen | Diverse | Drept | Economie | Engleza |
| Filozofie | Fizica | Franceza | Geografie | Germana |
| Informatica | Istorie | Latina | Management | Marketing |
| Matematica | Mecanica | Medicina | Pedagogie | Psihologie |
| Romana | Stiinte politice | Transporturi | Turism |
Turnarea in forme nepermanente.
Urmarirea si schitarea unui proces tehnologic de turnare.
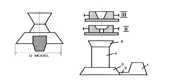
Stabilirea planelor de separatie. Stabilirea adaosurilor tehnologice. Stabilirea adaosurilor de prelucrare. Stabilirea inclinatiilor. Stabilirea locului maselotelor si a racirilor sunt redate in figura 9.1a, 9.1b.,9.1c.

±0,1
d1 [mm]
±0,1
D1 2OO [mm] D2=D1 +Ateh+Imc
Fig. 9.1a. Stabilirea planelor de separatie, Stabilirea adaosurilor tehnologice, Stabilirea adaosurilor de prelucrare, Stabilirea inclinatiilor, Stabilirea locului maselotelor si a racirilor

Fig. 9.1b. Stabilirea planelor de separatie, Stabilirea adaosurilor tehnologice, Stabilirea adaosurilor de prelucrare, Stabilirea inclinatiilor, Stabilirea locului maselotelor si a racirilor

Fig. 9.1c. Stabilirea planelor de separatie, Stabilirea adaosurilor tehnologice, Stabilirea adaosurilor de prelucrare, Stabilirea inclinatiilor, Stabilirea locului maselotelor si a racirilor
Turnarea este procedeul de prelucrare primara, prin care metalul in stare fluida este introdus sub actiunea unei forte exterioare in cavitatea unei forme.
Forma cavitatii se realizeaza cu ajutorul unui model caree va reprezenta in spatiu suprafata exterioara a piesei ce se doreste a se realiza prin turnare.
Forma de turnare este un element sau un ansamblu de elemente ce cuprind o cavitate, obtinuta cu ajutorul modelului, in care, prin turnarea materialului metalic lichid, se obtine dupa solidificarea acestuia piesa turnata.
Dimensiunile modelului vor trebui sa fie mai mari ca ale piesei finite cu valoare procentuala a contractiei metalului din momentul umplerii formei pana la temperatura ambianta.
Valorile contractiei liniare
Fonta cenusie 1%
Fonta maleabila 1,50%
Otel 1,82,5%
Bronz 1,25%
Amestecul de formare, are rolul de a mentine metalul in forma de turnare pana la solidificare, dupa ce se extrage modelul.Poate fi natural sau sintetic, in general nisip, lianti si materiale auxiliare.
Amestecurile naturale contin nisip brut cu liant natural, iar cele sintetice, nisipuri de turnatorie, lianti si materiale auxiliare care au fost supuse in prealabil unor operatii de preparare.
Maselota este necesara datorita contractiei lineare a materialului lichid in forma, care duce la o contractie volumica. Coeficientul contractiei volumice este de trei ori mai mare decat cel linear. Contractia in stare lichida, duce la scaderea nivelului metalului lichid dupa umplerea formei, de aceea, cavitatea din forma va trebui sa contina un volum de metal lichid mai mare decat cel corespunzator volumului piesei. Aceasta cerinta se realizeaza prin maselota, care reprezinta rezerva de metal lichid pentru umplerea golurilor de contractie.
Miezul este partea componenta a formei de turnare, cu ajutorul careia se realizeaza golul interior si uneori chiar si cel exterior al piesei turnate.
Dupa caracterul permanent sau temporar, pot fi metalice sau din amestec, iar dupa starea amestecului pot fi crude sau uscate.
Marca miezului este parte componenta la cutia de miez si la cavitatea formei, pentru a asigura montarea miezului in forma. Servesc la asigurarea miezului contra rotirii si deplasarii axiale in forma.
Cutia de miez este executata din lemn, metal sau rasina, folosita pentru executarea miezurilor in vederea obtinerii golurilor in piesa turnata.Se pot executa cu sau fara suprafete de separatie, dintr-o singura bucata si se extrag prin simpla rasturnare. Concomitent cu miezul si in aceeasi cutie se executa si marca miezului.
Palnia si reteaua de turnare servec la conducerea jetului de metal lichid catre cavitatea formei si asigura umplerea acesteia.
Rama de formare este cadru rigid sau demontabil, din lemn sau metalic, folosit la executarea formelor temporare sau semipermanente. Sunt fixe sau demontabile.
Piesa turnata rezultata este fie un semifabricat, fie o piesa finita.

Acest document nu se poate descarca
| E posibil sa te intereseze alte documente despre:
|
| Copyright © 2026 - Toate drepturile rezervate QReferat.com | Folositi documentele afisate ca sursa de inspiratie. Va recomandam sa nu copiati textul, ci sa compuneti propriul document pe baza informatiilor de pe site. { Home } { Contact } { Termeni si conditii } |
Documente similare:
|
ComentariiCaracterizari
|
Cauta document |