QReferate - referate pentru educatia ta.
Cercetarile noastre - sursa ta de inspiratie! Te ajutam gratuit, documente cu imagini si grafice. Fiecare document sau comentariu il poti downloada rapid si il poti folosi pentru temele tale de acasa.



AdministratieAlimentatieArta culturaAsistenta socialaAstronomie
BiologieChimieComunicareConstructiiCosmetica
DesenDiverseDreptEconomieEngleza
FilozofieFizicaFrancezaGeografieGermana
InformaticaIstorieLatinaManagementMarketing
MatematicaMecanicaMedicinaPedagogiePsihologie
RomanaStiinte politiceTransporturiTurism
Esti aici: Qreferat » Documente mecanica

Mecanismul cu clichet



Mecanismul cu clichet


Rol functional:  Transforma miscarea de rotatie continua in miscare de rotatie  intermitenta

Utilizari: masini unelte.

Constructie:   






Clichetul este o parghie (1) articulata la un capat si care are celalalt

capat profilat, astfel incat, patrunzand intre dintii unei roti dintate (2) sa

impiedice rotirea acesteia intr-un anumit sens (fig 10).



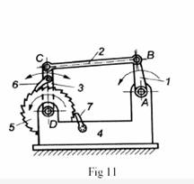
manivela

biela

balansier

batiu

roata cu dinti

clichet

clichet de blocare



Principiul de functionare :


Roata cu dinti (5) are o miscare de rotatie, imprimata de manivela (1) prin intermediul bielei (2) si a balansierului (3). 

Miscarea va fi fragmentata de clichetul (6) care se roteste liber in jurul unei articulatii solidare cu balansierul (3).

Clichetul de blocare (7) este un element de siguranta impotriva schimbarii sensului de rotatie in mod accidental. Intregul mecanism se sprijina pe elementul fix (4) -batiu.

Se foloseste la unele mecanisme speciale de deplasare cu cursa foarte scurta.

El este actionat pentru a impinge un dinte si apoi, retragandu-se un pas, antreneaza urmatorul dinte, repetand miscarea. In acest fel, roata dintata sau cremaliera se deplaseaza pas cu pas.



Nu se poate descarca referatul
Acest document nu se poate descarca

E posibil sa te intereseze alte documente despre:


Copyright © 2025 - Toate drepturile rezervate QReferat.com Folositi documentele afisate ca sursa de inspiratie. Va recomandam sa nu copiati textul, ci sa compuneti propriul document pe baza informatiilor de pe site.
{ Home } { Contact } { Termeni si conditii }