| Administratie | Alimentatie | Arta cultura | Asistenta sociala | Astronomie |
| Biologie | Chimie | Comunicare | Constructii | Cosmetica |
| Desen | Diverse | Drept | Economie | Engleza |
| Filozofie | Fizica | Franceza | Geografie | Germana |
| Informatica | Istorie | Latina | Management | Marketing |
| Matematica | Mecanica | Medicina | Pedagogie | Psihologie |
| Romana | Stiinte politice | Transporturi | Turism |
I.M.S.P
PRODUSE, PROCESE, SISTEME
CUPRINS
Tema
1.Date initiale generale
2.Analiza constructiva functional tehnologica
2.1.Schite constructive ale produsului si reperului
2.2.Schite constructive prescrise reperului
2.3.Functiile produsului ,reperului si suprafetelor
2.4.Tehnologicitatea
3.Semifabricare si prelucrari
Borderou de planse
|
Nr.crt |
Denumire |
Format |
|
|
|
|
Tema
Studiul tehnico-economic, privind constructia produsului P, procesul tehnologic de fabricare a reperului R, si proiectarea echipamentului tehnologic E
P..
R..
E..
1.Date initiale generale
2.Analiza constructiva functional-tehnologica
2.1. Schite constructive ale produsului si reperului
O schita a produsului "Lagar Gazostatic" se prezinta in fig. 2.1, in care reperul considerat are pozitzia 5
Fig 2.1
O schita a reperului "Ax" se prezinta in fig 2.2 unde Sk ,k=1, 2 sunt suprafete definitorii
Fig 2.2
2.2 Caracteristici constructive prescrise reperului.
a) Caracteristicile suprafetelor
Caracteristicile principale ale suprafetelor Sk se prezinza in tabelul 2.1.
Tabelul 2.1
|
Sk |
Forma |
Dimensiuni |
Rugozitatea Ra |
Tolerante de forma |
Pozitia reciproca |
Alte conditii |
|
S1 |
Cilindrica |
|
|
|
|
|
|
S2 |
Plana |
|
|
|
|
|
|
S3 |
Cilindrica |
|
|
|
|
|
|
S4 |
Plana |
|
|
|
|
|
|
S5 |
Plan-Conica |
|
|
|
|
|
|
S6 |
Plana |
|
|
|
|
|
|
S7 |
Conica 1:12 |
|
|
|
|
|
|
S8 |
Cilindrica |
|
|
|
|
|
|
S9 |
Plan-cilind |
|
|
|
|
|
|
S10 |
Plan-cilind (canal de pana) |
40 x 8 |
|
|
|
|
|
S11 |
Cilindrica |
|
|
|
|
|
|
S12 |
Elicoidala |
M45 x1,5 x 28 |
|
|
|
|
|
S13 |
Cilindrica |
|
|
|
|
|
|
S14 |
Cilindrica |
|
|
|
|
|
|
S15 |
Plana (canal) |
6 x 20 |
|
|
|
|
|
S16 |
Cilindrica |
|
|
|
|
|
|
S17 |
Plana |
|
|
|
|
|
|
S18 |
Plana |
|
|
|
|
|
|
S19 |
Elicoidala |
M40x1,5 x 20 |
|
|
|
|
b. Caracteristici de material prescrise
Materialul prescris este OLC 45
Elemente chimice principale [%] sunte prezentate in tabelul 2.3
Tabelul 2.3
|
Compozitie chimica[%] |
||||
|
C |
Si |
Mn |
P |
S |
|
|
|
|
|
|
Structura metalografica- se prezinta tabelar :
|
Perlita |
Ferita libera |
|
|
|
Propietatiile fizico-mecanice principale sunt prezentate in tabelul 2.4.
Tabelul 2.4
|
Propietati Mecanice |
Propietati fizice |
Propietati tehnologice |
Propietati economice | ||||||
|
Rezilstenta la coroziune [mm] |
E*10^6 daN/cm^2 |
Rezilstenta la rupere [daN/cm] |
Duritarea [HB] |
Densitatea kg/dc^3 |
Cond Termic |
Uzinabilitate |
Calibilitate |
Pret[lei/kg] | |
|
|
|
|
|
|
|
FB |
FB |
| |
Tratamente termice prescrise: se fac in functie de destinatia semifabricatului
c. Masa reperului
Pentru aflarea mase s-a utilizat programul AUTODESK INVENTOR folosind comanda "Phisical" (File à iProperties ), in care s-a introdus densitatea materialului ales (OlC 45) egala cu 7,85 kg / dm^3.
Astfel, masa reperului ,m, este
m= 3,174 Kg
d. Clasa de piese
Avand in vedere forma de gabarit si pozitia suprafetelor componente, se apreciaza ca repereul face parte din clasa arborilor.
2.3 Funtiile produsului, reperului si suprafetelor
a. Functiile produsului
b. Funtiile reperului
-rol de a transmite miscarea.
c. Functiile suprafetelor
Functiile suprafetelor sunt prezentate in tabelul 2.5
Tabelul 2.5
|
Sk |
Functia(-ile) |
|
S1 |
Suprafata de asamblare cu reperul 6 (AX) |
|
S2 |
Suprafata de sprijin pentru reperul 2 (rulment) |
|
S3 |
Suprafata de sprijin pentru reperul 2 (rulment) |
|
S4 |
Suprafata de delimitare |
|
S5 |
Suprafata de conctact,locas pentru reperul 4 (curea) |
|
S6 |
Suprafata de delimitare |
|
S7 |
Suprafat asamblare reper 3 (rulment conic) |
|
S8 |
|
|
S9 |
Suprafatza tehnologica,necesara prelucrarii suprafetei S14 |
|
S10 |
Suprafata de asamblare cu pana |
|
S11 |
Suprafata de contact |
|
S12 |
Suprafata de asablare filetar cu reperul 5 |
|
S13 |
Suprafata de asamblare cu repereul 4 (bucsa) |
|
S14 |
Suprafata de asamblare cu pana |
|
S15 |
Suprafata de contact curea |
|
S16 |
Suprafata tehnologica |
|
S17 |
Suprafata de asamblare cu pana |
|
S18 |
|
|
S19 |
Suprafata de asamblare filetata |
|
|
|
2.4 Tehnologicitatea constructiei reperului
a. Gradul de unificare a elementelor constructive ( λe
![]()
unde: ed este numarul dimensiunilor diferite,iar et numarul total al elementelor.
Se analizeaza trei grupe principale de caracteristigi geometrice dupa cum urmeaza:
λe1=2 /2 =1
λe1=2 /2 =1
Gradul mediu de unificare constructiva este :
λe
λe
b.Concordanta dintre caracteristicile contructive prescrise si cele impuse de rorlul functional, tehnologic
Gradul de concordanta dintre caracteristicele constructive (CC) prescrise si cele impuse de rolul functional / tehnologic λc, este:
λc=Cc / Ct
unde: Cc est numarul CC prescrise care sunt in concordanta cu cele impuse de cerintele functional tehnologice,iar Ct- numarul total de CC prescrise
λc
c.Conditii de tehnologicitate impuse de unificarea constructiva
Din punct de vedere al contittiei principale impuse de unificarea constructiva, respectiv numar minim posibil al dimensiunilor elementelor constructive, se apreciaza ca aceasta este acceptabila.
d.Conditii de tehnologicitate impuse de procedeele tehnologice
Conditiile de tehnologicitate impuse de procedeele tehnologice de fabricare sunt prezentate in tabelul 2.6
Tabelul 2.6
|
Nr crt. |
Conditie |
Grad de satisfacere |
|
|
Forma de gabarit sa prezinte axe sau plane de simetrie care, dupa caz, sa fie utile pentru definirea planului(-elor) de separare a semimatritelor |
DA |
|
|
Elementele constructive de tip inclinare, racordare, grosime de perete, de dimesniune l, sa indeplineasca conditia > sau = min sau/si < sau =max, in care lmin si lmax sunt valori limita impuse de procdeul tehnologic |
DA |
|
|
Forma sau pozitia unor suprafete sa fie astfel incat sa prezinte inclinari in raport cu planul de separatie a semiformelor/semimatritelor |
DA |
|
|
Alezajele sa fie patrunse |
DA |
|
|
Elementele constructive de rezistenta sa fie "pline"/ nu "tubulare" |
DA |
|
|
Trecerile dintre suprafete sa fie astfel incat sa se evite deteriorarea acestora in timpul manevrarii semifabricatulu |
DA |
3. Semifabricare si prelucrari
Se cunosc:
Avand in vedere considerentele de mai sus, se adopta doua variante tehnic-acceptabile de semifabricare,care se prezinta in tabelul 3.1
Tabelul 3.1
|
Var. |
Semifabricat |
Metoda de semifabricare |
Procedeul de semifabricare |
|
|
Semifabricat cu adaosuri de prelucrare relativ mari SF1:Fig 3.1 |
Deformare plastica la cald |
Matritare la cald pe masina verticala |
|
|
Semifabricat cu adaosuri de prelucrare relativ mici SF1:Fig 3.2 |
Deformare plastica la cald |
Matritare la cald pe masina verticala |
Varianta 1
Se adopta clasa a II-a de precizie
Caracteristicile specifice si caracteristicile prescrise semifabricatului sunt prezentate in tabelul 3.2, fig 3.1 si respectiv ,desenul semifabricatului
Tabelul 3.2
|
Clasa de precizie |
Dimensiunea piesei mm |
Adosul de prelucrare mm |
Dimensiunea semifabricatului mm |
Abareri limita prescrise mm |
|
II |
|
|
|
|
|
II |
|
|
|
|
|
II |
|
|
|
|
|
II |
|
|
|
|
|
II |
|
|
|
|
|
II |
|
|
|
|

Fig 3.1
Varianta 2
Tabelul 3.3
|
Clasa de precizie |
Dimensiunea piesei mm |
Adosul de prelucrare mm |
Dimensiunea semifabricatului mm |
Abareri limita prescrise mm |
|
II |
|
|
|
|
|
II |
|
|
|
|
|
II |
|
|
|
|
|
II |
|
|
|
|
|
II |
|
|
|
|
|
II |
|
|
|
|

Fig 3.2
3.2 Prelucrari
Se cunosc:
Avand in vedere considerentele de mai sus, pentru fiecare suprafata sau grup de suprafete similare, s-au determinat variantele tehnic-acceptabile privind succesiunea de prelucrari necesare, care se prezinta in tabelul 3.4
Tabelul 3.4
|
Sk |
Var |
Prelucrari |
|||
|
S1 |
I |
Strunjire degrosare |
Strunjire finisare |
Rectificare |
|
|
S2 |
I |
Strunjire |
|
|
|
|
S3 |
I |
Strunjire degrosare |
Strunjire finisare |
|
|
|
S4 |
I |
Strunjire |
|
|
|
|
S5 |
I |
Strunjire |
|
|
|
|
`S6 |
I |
Strunjire |
|
|
|
|
S7 |
I |
Strunjire degrosare |
Strunjire finisare |
Rectificare |
|
|
S8 |
I |
Gaurire cu burghiul |
|
|
|
|
S9 |
I |
Strunjire |
|
|
|
|
|
II |
Alezare |
|
|
|
|
S10 |
I |
Frezare |
|
|
|
|
S11 |
I |
Strunjire degrosare |
Strunjire semifinisare |
Strunjire finisare |
Rectificare |
|
S12 |
I |
Strunjire filetare |
|
|
|
|
S13 |
I |
Strunjire degrosare |
|
|
|
|
S14 |
I |
Rabotare |
|
|
|
|
S15 |
I |
Frezare |
|
|
|
|
S16 |
I |
Strunjire |
|
|
|
|
S17 |
I |
Stunjire |
|
|
|
|
S18 |
I |
Strunjire |
|
|
|
|
S19 |
I |
Filetare exterioara |
|
|
|
4. Structura preliminara a procesului si sistemului de fabricare
Se cunosc:
Caracteristicile semifabricatelor SF1 si SF2
Prelucrarile necesare
Principiile si restrictiile privind determinarea structurii proceselor tehnologice
Elementele definitorii ale structurii preliminare
Avand in vedere considerentele de mai sus, s-a efectuat gruparea prelucrarilor necesare si a altor activitati necesare, in operatii principale si, respectiv, operatii complementare, in doua variante, s-au determinat si celelalte elemente de definire a procesului tehnologic de fabricare si, corespunzator, se prezinta mai jos cele doua variante de proces tehnologic de fabricare in strunctura preliminara PT1 (tab 4.1) si PT2 (tab 4.2).
PT1 Tabelul 4.1
|
Nr. de ordine si denumirea operatiei |
Schita simplificata a operatiei |
Utilajul si S.D.V.-urile |
|
|
00.Matritare |
|
U: Presa verticala D-S: Matrita V:Subler |
|
|
10. Strunjire I |
|
U:Strung CNC D:Universal S:Cutit V:Subler, calibru |
|
|
20. Strunjire 2 |
|
U:Strung CNC D:Univesal S:cutit, largitor V:Subler,mmicrometru |
|
|
30. Frezare -Gaurire |
|
U:Centru CNC D:Special S:Freza deget, freza cilindrica, burghiu V:Subler,micrometru |
|
|
|
|
|
|
|
|
|||
|
|
|||
|
40.Rabotare |
|
U:Masina de rabotat D:Special S:Cutit V: Micrometru |
|
|
50.Tratament terimic |
|
||
|
60. Rectificare I |
|
U:Masina de rectificat D:Universal S:Disc abraziv V:Subler.Micrometru |
|
|
70. Rectificare II |
|
U:Masina de rectificat D:Universal S:Disc abraziv V:Subler.Micrometru |
|
|
80. Control final |
|
||
|
90. Conservare si depozitare |
|
||
PT2 Tabelul 4.2
|
Nr. de ordine si denumirea operatiei |
Schita simplificata a operatiei |
Utilajul si S.D.V.-urile |
|
|
00.Matritare |
|
U: Presa vericala D-S: Matrita V:Subler |
|
|
10. Strunjire degrosare I |
|
U:Strung normal D:Universal S:cutit V:Subler |
|
|
20. Strunjire degrosare II |
|
U:Strung normal D:Univesal S:cutit, burghiu,cuti profilat V:Subler,mmicrometru |
|
|
30. Strunjire semifinisare finisare |
|
U:Strung normal D:Univesal S:cutit V:Subler,mmicrometru |
|
|
40. Strunjire finisare |
|
U:Strung normal D:Univesal S:cutit, largitor V:Subler,mmicrometru |
|
|
50. Filetare |
|
U:Strung normal D:Univesal S:cutit, V:Calibru |
|
|
50. Gaurire |
|
U:Masina de gaurit D:Special V:Burghiu V:Subler |
|
|
60. Frezare I |
|
U:Masina de frezat D:Special S:Freza V:Subler |
|
|
70. Frezare II |
|
|
U:Masina de frezat D:Special S:Freza deget V:Subler |
|
90. Rabotare |
|
U:Masina de rabotat D:Special S:Cutit V:Micrometru |
|
|
110. Rectificare I |
|
U:Masina de rectificat D:Universal S:Piata abraziva V:Micrometru |
|
|
120. Rectificare II |
|
U:Masina de rectificat D:Universal S:Piata abraziva V:Subler |
|
4.2. Stuctura detaliata
4.2.1 Nomenclatorul, fazele si schemele de orientare-fixare asociate operatiilor
a. Nomenclatorul operatiilor.
Tabelul 4.2.1
|
PT 1 |
PT 2 |
|
00. Matritare 10. Strunjire I 20. Strunjire II 25. Control 30. Prelucrare complexa 35.Control 40.Rabotare 45.Control 50. Tratament termic 60. Rectificare I 70. Rectificare II 80. Control final 90. Consevare-depozitare |
00. Matritare 10. Strunjire degrosare I 20. Strunjire degrosare II 25. Control 30. Strunjire semifinisare finisare 40. Strunjire finisare 45. Control 50. Strunjire filetare 55. Control 60. Gaurire 70. Frezare I 80. Frezare II 85. Control 90. Rabotare 95. Control 100. Tratament termic 110. Rectificare I 120. Rectificare II 130. Control final 140. Consevare-depozitare |
b. Fazele si schemele de orientare-fixare
Tabelul 4.2.2
|
Operatia |
Fazele operatiei |
Schita operatiei (SOF) |
Utilaj si S.D.V-uri (tip) |
|
|
00. Matritare |
|
|
U: Presa verticala D-S: Matrita V:Subler |
|
|
10. Strunjire I |
10.a Prindere semifabricat 10.1 Strunjire degrosare la 312, Ǿ35, 13, Ǿ40, 222, Ǿ45, 275 10.2 Strunjire filetare de degrosare M40x1,5 10.3 Strunjire filetare de degrosare M45x1,5 10.4 Strunjire semifinisare la Ǿ
10.b Desprindere si depunere piesa |
|
U: Strung CNC D:Universal S: Cutit V: Subler, micrometru |
|
|
20. Strunjire I |
20.a Prindere semifabricat 20.1 Strunjire degrosare la Ǿ 20.2 Strujire degrosare la 312,Ǿ 20.3 Strunjire degrosare la conic 1:12, 299, Ǿ70 20.5 Strunjire degrosare la Ǿ52 x6 20.6 Stunjire finisare la Ǿ47, Ǿ 20.b Desprindere si depunere piesa |
|
U: Strung CNC D:Universal S: Cutit V: Subler, micrometru |
|
|
25 Control |
|
|
||
|
30. Frezare - Gaurire |
30.a Prindere semifabricat 30.1 Gaurire 1g Ǿ10 30.2 Frezare canal pana 8x40x 30.3 Frezare canal pana 6x25x 30.b Desprindere si depunere piesa |
|
U:Centru CNC D:Special S:Burghiu,freza deget, freza cilindrica V:Subler |
|
|
|
|
|||
|
35.Control |
|
|
|
|
|
40. Rabotare |
40.a Prindere semifabricat 40.1 Rabotare canal pana 8x65x 40.b Desprindere si depunere piesa |
|
U:Masina de rabotat D:Special S: Cutit de rabotat V:Micrometru |
|
|
45 Control |
|
|
||
|
50 Tratament termic |
|
|
||
|
60 Rectifi-care I |
60.a Prindere semifabricat Rectificare la Ǿ40 60.2 Rectificare conic 1:12 60.b Desprindere si depunere piesa |
|
U:Masina de rectificat D:Universal S:Piatra abraziva V:Subler |
|
|
70 Recrtifi-care |
60.a Prindere semifabricat Rectificare la Ǿ 60.b Desprindere si depunere piesa |
|
U:Masina de rectificat D:Universal S:Piatra abraziva V:Mircrometru |
|
|
80. Control final |
|
|
||
|
90. Conservare si depozitare |
|
|
||
PT2 Tabelul 4.2.2
|
Operatia |
Fazele operatiei |
Schita operatiei (SOF) |
Utilaj si S.D.V-uri (tip) |
||
|
00. Matritare |
|
|
U: Presa verticala D-S: Matrita V:Subler |
||
|
10. Strunji-re degro-sare I |
10.a Prindere semifabricat 10.1 Strunjire degrosare la 10.2 Strunjire degrosare la Ǿ45x275 10.3 Strunjire degrosare la Ǿ 10.4 Strunjire degrosare la Ǿ35x13 10.bDesprindere si depunere piesa |
|
U: Strung normal D:Universal S: Cutit V: Subler, micrometru |
||
|
20. Strunjire degrosare II |
20.a Prindere semifabricat 20.1 Stunjire degrosare conic 1:12 x 299 20.2 Strujire degrosare la 312 20.3 Stunjire degrosare la Ǿ70 20.4 Strunjire degrosare la Ǿ 20.5 Strunjire degrosare la Ǿ 20.6 Strunjire degrosare la Ǿ 20.7 Strunjire degrosare la Ǿ52x6 20.b Desprindere si depunere piesa |
|
U: Strung normal D:Universal S: Cutit, largitor V: Subler, micrometru |
||
|
25.Control |
|
|
|||
|
Strunjire seimfinisare finisare |
30.a Prindere semifabricat 30.1 Strunjire semifinisare la Ǿ 30.2. Strunjire finisare la Ǿ 30.3 Strunjire finisare la (Ǿ52) conic 1:12 30.b Desprindere si depunere piesa |
|
U: Strung normal D:Universal S: Cutit V: Subler |
||
|
40. Strunjire finisare |
40.a Prindere semifabricat 40.1 Strunjire finisare la Ǿ47 40.2 Stunjire finisare la Ǿ 40.b Desprindere si depunere piesa |
|
U: Strung normal D:Universal S: Cutit V: Micrometru |
||
|
45. Control |
|
|
|||
|
50. Strunjire filetare |
50.a Prindere semifabricat 50.1 Strunjire filetare M40x 1,5 50.2 Stunjire filetare M45x 1,5 50.b Desprindere si depunere piesa |
|
U: Strung normal D:Universal S: Cutit V: Calibru |
||
|
|
|
||||
|
60. Gaurire |
60.a Prindere semifabricat 60.1 Gaurire 1g Ǿ10 60.b Desprindere si depunere piesa |
|
U:Masina de gaurit D:Special S:Burghiu V:Micrometru |
||
|
70. Frezare I |
70.a Prindere semifabricat 70.2 Frezare canal pana 8x40x 70.bDesprindere si depunere piesa |
|
U:Masina de frezat D:Special S:Freza deget V:Subler |
||
|
|
|
||||
|
Frezare I |
80.1 Prindere semifabricat 80.2 Frezare canal pana 6x25x 80.3 Desprindere si depunere piesa |
|
U:Masina de frezat D:Special S:Freza deget V:Subler |
||
|
90. Rabotare |
40.a Prindere semifabricat 40.1 Rabotare canal pana 8x65x 40.b Desprindere si depunere piesa |
|
U:Masina de rabotat D:Special S: Cutit de rabotat V:Micrometru |
||
|
95.Control |
|
|
|
||
|
100 Tratament termic |
|
|
|||
|
110 Rectifi-care I |
110.a Prindere semifabricat Rectificare la Ǿ40 110.2 Rectificare conic 1:12 110.b Desprindere si depunere piesa |
|
U:Masina de rectificat D:Universal S:Piatra abraziva V:Subler |
||
|
120 Recrtifi-care II |
120.a Prindere semifabricat Rectificare la Ǿ 120.b Desprindere si depunere piesa |
|
U:Masina de rectificat D:Universal S:Piatra abraziva V:Mircrometru |
||
|
130. Control final |
|
|
|||
|
140. Conservare si depozitare |
|
|
|||
|
Operatia |
Masina -Unealta |
Caracteristici |
|
00.Matritare |
Presa verticala |
|
|
10. Strunjire I: 20. Strunjire II |
Strung paralel SP125 CNC |
-diametrul maxim de prelucrat: 125mm -lungimea maxima de strunjire(cu privire la papusa mobila): 500 mm -gama turatiilor (variatie continua) 50-5000 rot/min -gama avansurilor ( variatie continua) 10-5000 mm/min -numarul posturilor capului revolver:6 -puterea motorului principal: 11 Kw -gabarit LxBxH: 3800x1800x1065 -masa: 3200 Kg -echipament NC: CNC 645 |
|
30.Prelucrare complexa |
Centru de prelucrare vertical Sigma VC 1000PNC |
-cursa (mm) pe axele X,Y,Z:1000/520/550 -alezajul arborelui principal: ISO 40 -gama de turatii:4000-35000 rot/min -gama de avansuri:10-9000 mm/min -puterea motorului electric: 26 Kw |
|
40 Rabotare |
Masina de rabotat 425B |
-cursa maxima de lucru:425 mm -cursa maxima a saniei portcutit: 140mm -cure duble pe minut:14; 29; 38; 53; 75; 105 -cursa mesei: -orizontal:480 mm -vertical: 400 mm -gama de avansuri :0.25; 0.50; 0.75; 1.00 mm/cd -suprafata mesei :425x310 mm -puterea motorului electric principal: 22.2 Kw |
|
60.Rectificare I |
Masina de rectificat exterior RE-RU 100 Ax500 |
-dimensiunile maxime ale suprafetei de prelucrat: Ǿ100x500 distanta intre varfuri: 500 mm -inaltimea varfurilor: 135 mm -gama de turatii ale pietrei abrazive:1480-1840 rot/min -gama de turatii ale semifabricatului: 63-800 rot/min -gama vitezelor de avans: 0,05-8 m/min -puterea motorului principal: 3 Kw |
|
70.Rectificare II |
Masina de rectificat interior cu cap de prindere 3250 |
-dimensiunile maxime ale suprafetei de prelucrat: Ǿ(40-200)x500 mm -gama de turatii ale pietrei abrazive:8000;12000;15000 rot/min -gama de turatii ale semifabricatului: 190; 265;375; 5090 rot/min -gama vitezelor de avans: 250 mm/min -puterea motorului principal: 4.2 Kw |
Tab. 4.7 Utilaje folosite in PT2
|
Operatia (-iile) |
Utilajul |
|
|
Marca |
Caracteristici |
|
|
10.Strunjire degraosare I 20.Strunjire degrosare II 30. Strunjire semifinisare finisare 40. Strunjire finisare 50. Strunjire filetare |
Strung normal SNA 320 |
-diametrul maxim de prelucrat deasupra patului: 320mm -distanta intre varfuri:750;1000 mm -diametrul maxim de prelucrat deasupra saniei: 158 mm -diametrul alezajului arborelui principal:52 -conul alezajului arborelui principal: Morse 6 -sectiunea maxima a cutitului 20x20 mm -gama de turatii -var cu cuplaj mec: 31.5; 40; 50; 63; 80; 100; 125; 160; 200; 250; 315; 400; 500; 630; 800; 630; 800; 1000; 1250; 1600; 2000. -var cu cuplaj e.m: 31.5; 50; 65; 80; 100; 125; 160; 250; 315; 400; 500; 630; 800; 1000; 1250; 1600; 2500 |
|
60.Gaurire |
Masina de gaurit G16 |
`-diametrul maxim de garuit in otel:16 mm -adancimea maxima de garuirie: 160mm -cursa maxima a capului de gaurire pe coloana: 225 mm -conul arborelui principal:Morse 3 -distanta dintre axul principal si coloana: 280 mm -distanta maxima dintre capul arborelui principal si suprafata mesei: 630mm -suprafata utila a mesei: 300 x 400 mm -canalele T ale mesei: 3T14 STAS 1386 -gama de turatii:150; 212; 300; 425; 600; 850; 1180;1700; 2360 rot/min -gama de avansuri:0.10;0.16;0.25;0.40 mm/rot -puterea motorului principal: 1,5 Kw |
|
70.Frezare I 80.Frezare II |
Masina de frezat verticala cu consola FV32x132 |
-suprafata de lucru a mesei:325x1325mm -cursele de lucru -longitudinala:700 mm -transversala: 250mm -verticala : 370 mm -gama de turatii:30; 37.5; 48.5; 60; 75; 95; 118; 150; 190; 235; 300; 375; 475; 600; 750; 950; 1180; 1900 rot /min -gama de avansuri: -longitudinale si transversale [mm/min]: 19; 23.5; 30; 37.5; 48.5; 60; 75; 95; 118; 150; 190; 235; 300; 375; 475; 600; 750; 950 mm/min -verticale : ¼ d avansul longitudinal -numarul canalelor T si dimensiunile acestora:T18 -conul alezajului arborelui principal: ISO 50 -puterea motorului electric principal: 7.5Kw |
|
90.Rabotare |
Masina de rabotat 425B |
-cursa maxima de lucru:425 mm -cursa maxima a saniei portcutit: 140mm -cure duble pe minut:14; 29; 38; 53; 75; 105 -cursa mesei: -orizontal:480 mm -vertical: 400 mm -gama de avansuri :0.25; 0.50; 0.75; 1.00 mm/cd -suprafata mesei :425x310 mm -puterea motorului electric principal: 22.2 Kw |
|
110.Rectificare I |
Masina de rectificat exterior RE-RU 100 Ax500 |
-dimensiunile maxime ale suprafetei de prelucrat: Ǿ100x500 distanta intre varfuri: 500 mm -inaltimea varfurilor: 135 mm -gama de turatii ale pietrei abrazive:1480-1840 rot/min -gama de turatii ale semifabricatului: 63-800 rot/min -gama vitezelor de avans: 0,05-8 m/min -puterea motorului principal: 3 Kw |
|
120.Rectificare II |
Masina de rectificat interior cu cap de prindere 3250 |
-dimensiunile maxime ale suprafetei de prelucrat: Ǿ(40-200)x500 mm -gama de turatii ale pietrei abrazive:8000;12000;15000 rot/min -gama de turatii ale semifabricatului: 190; 265;375; 5090 rot/min -gama vitezelor de avans: 250 mm/min -puterea motorului principal: 4.2 Kw |
b)Dispozitivele port-piesa
Avand in vedere schemele de orientare-fixare si caracteristicile utilajelor, se vor stabili dispozitivele de prindere a piesei conform Tab.
Tab. 4.8 Dispozitie de prindere a piesei in PT1
|
Operatia (-iile) |
DPP |
|
10.Strunjire I 20.Strunjire II |
Universal cu 3 bacuri 270-4010/4050 |
|
30.Prelucrare complexa |
Special |
|
40.Rabotare |
Special |
|
60.Rectificare I 70.Rectificare II |
Universal cu 3 bacuri 270-4010/4050 |
Tab. 4.9 Dispozitie de prindere a piesei in PT1
|
Operatia (-iile) |
DPP |
|
10.Strunjire dergrosare I 20.Strunjire degrosare II 30 Strunjire semifinisar-finisare 40.Strunjire finisare 50.Strunjire filetare |
Universal cu 3 bacuri 270-4010/4050 |
|
60.Gaurire 70.Frezare I 80. Frezare II |
|
|
80.Rabotare |
Special |
|
110.Rectificare I 120.Rectificare II |
Universal cu 3 bacuri 270-4010/4050 |
c) Scule de prelucrare (S) si dispozitivele port-scula (DPSc)
PT1
Operatia 10. Strunjire I

Fig. 4.1 Strunjire I repezentare scule
Tab. 4.10
|
Faza |
Scula |
DPSc |
||
|
Simb |
Corp Cod |
Placuta aschietore Cod |
||
|
10.1 Strunjire degrosare la 312, Ǿ35, 13, Ǿ40, 222, Ǿ45, 275 10.2 Strunjire semifinisare la Ǿ
|
S1 |
PCLNL4040S19 |
CNMM1906 |
Suport port cutit SPC-02 |
|
10.2 Strunjire filetare de degrosare M40x1,5 10.3 Strunjire filetare de degrosare M45x1,5 |
S2 |
|
|
Suport port cutit SPC-02 |
Operatia 20 . Strunjire II

Fig. 4.2 Strunjire II repezentare scule
20.1 Strunjire
degrosare la Ǿ
- S3 Largitor elicoidal cu coada conica STAS
8054/5-91
Tab. 4.11
|
Faza |
Scula |
DPSc |
||
|
Simb |
Corp Cod |
Placuta aschietore Cod |
||
|
20.2 Strujire degrosare la 312,Ǿ 20.6 Stunjire finisare la Ǿ47, Ǿ |
S4 |
S10K-SDQCR/L07F3 |
DCMT 07 02 02-53 |
Suport port cutit SPC-02 |
|
20.3 Strunjire degrosare la conic 1:12, 299, Ǿ70 |
S5 |
PCLNR2020K12 |
CNMM1204 |
Suport port cutit SPC-02 |
|
20.5 Strunjire degrosare la Ǿ52 x6 |
S6 |
PDNNR/ L4025L15 |
DNMM1506 |
Suport port cutit SPC-02 |
Operatia 30:Prelucrare complexa

Fig. 4.3 Strunjire II repezentare scule
Tab. 4.12
|
Faza |
Scula |
DPSc |
|||||
|
Simb |
Notare STAS |
Parametri geometrici ai sculei |
|||||
|
d |
L |
l |
|||||
|
30.1 Gaurire 1g |
S10 |
Burghiu elicoidal cu coada cilindrica STAS 4566-80 |
10 |
|
|
Reductie 3/1 STAS252-80 |
|
|
30.2 Frezare canal pana 8x40x |
S8-Freza deget din carbura metalica S 700 58 DIN 6535-HB (codificare MAK080R19J03B08 |
||||||
|
30.3 Frezare canal pana 6x25x |
S9-Freza disc cu trei taisuri cu dinti drepti STAS 2215/2-86 |
||||||
Operatia 40.Rabotare

Fig 4.4 Rabotare-reprezentare scule
Tab. 4.13
|
Faza |
Simbol |
Scula |
|
40.1 Rabotare canal pana 8x65x |
S10 |
Cutit pentru canale de pana STAS 360-67 |
Operatia 60. Rectificare I

Fig 4.5 Rectificare-reprezentare scule
Operatia 70. Rectificare II

Fig 4.6 Rectificare-reprezentare scule
PT2
Operatia 10: Strunjire degrosare I

Fig 4.7 Strunjire degrosar I -reprezentare scule
Tab. 4.14
|
Faza |
Scula |
DPSc |
||
|
Simb |
Corp Cod |
Placuta aschietore Cod |
||
|
10.1 Strunjire degrosare la |
S1 |
PTFNR/ L2525M22Q |
TCMT 16T304-53 |
Suport port cutit SPC-02 |
|
10.2 Strunjire degrosare la Ǿ35x13 |
S2 |
PCLNR2020K12 |
CNMM1204 |
Suport port cutit SPC-02 |
|
10.3 Strunjire degrosare la Ǿ |
S3 |
|||
|
10.4Strunjire degrosare la Ǿ45x275 |
S4 |
|||
Operatia 20. Strunjire degrosare II

Fig 4.8 Strunjire degrosar II -reprezentare scule
Tab. 4.15
|
Faza |
Scula |
DPSc |
||
|
Simb |
Corp Cod |
Placuta aschietore Cod |
||
|
20.1 Stunjire degrosare conic 1:12 x 299 |
S5 |
PCLNR2020K12 |
CNMM1204 |
Suport port cutit SPC-02 |
|
20.2 Strujire degrosare la 312 |
S6 |
PTFNR/ L2525M22Q |
TNNM2204 |
Suport port cutit SPC-02 |
|
20.3 Stunjire degrosare la Ǿ70 |
S7 |
PTGNL2020K16 |
TNMM1603 |
Suport port cutit SPC-02 |
|
20.4 Strunjire degrosare la Ǿ |
S8 |
Largitor elicoidal cu coada conica STAS 8054/5-91 |
|
|
|
20.5 Strunjire degrosare la Ǿ |
S9 |
S08F-SCLC R/L 06-5 |
CCMW 06 02 04 |
Suport port cutit SPC-02 |
|
20.6 Strunjire degrosare la Ǿ |
S10 |
S10K-SDQCR/L07F3 |
DCMT 07 02 02-53 |
Suport port cutit SPC-02 |
|
20.7 Strunjire degrosare la Ǿ52x6 |
S11 |
PDNNR/ L4025L15 |
DNMM1506 |
Suport port cutit SPC-02 |
Operatia 30. Strunjire semifinisare-finisare

Fig 4.9 Stunjire semifinsare finisare -reprezentare scule
Tab. 4.16
|
Faza |
Scula |
DPSc |
||
|
Simb |
Corp Cod |
Placuta aschietore Cod |
||
|
30.1 Strunjire semifinisare la Ǿ |
S12 |
PTGNL2020K16 |
TNMM1603 |
Suport port cutit SPC-02 |
|
30.2. Strunjire finisare la Ǿ 30.3 Strunjire |
S13 |
|||
|
finisare la (Ǿ52) conic 1:12 |
S14 |
|||
Operatia 40:Stunjire finisare

Fig 4.10 Stunjire finisare -reprezentare scule
Tab. 4.17
|
Faza |
Scula |
DPSc |
||
|
Simb |
Corp Cod |
Placuta aschietore Cod |
||
|
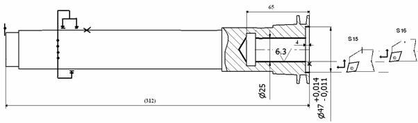
40.1 Strunjire finisare la Ǿ47 |
S15 |
PTGNL2020K16 |
TNMM1603 |
Suport port cutit SPC-02 |
|
40.2 Stunjire finisare la Ǿ |
S16 |
|||
Operatia 50:Strunjire filetare

Fig 4.11 Stunjire filetare -reprezentare scule
Tab. 4.18
|
Faza |
Scula |
DPSc |
||
|
Simb |
Corp Cod |
Placuta aschietore Cod |
||
|
50.1 Strunjire filetare M40x 1,5 |
S18 |
|
|
Suport port cutit SPC-02 |
|
50.2 Stunjire filetare M45x 1,5 |
S17 |
|||
Operatia 60:Gaurire

Fig 4.12 Gaurire-reprezentare scule
Tab. 4.19
|
Faza |
Scula |
DPSc |
||||
|
Simb |
Notare STAS |
Parametri geometrici ai sculei |
||||
|
d |
L |
l |
||||
|
60.1 Gaurire 1g |
S10 |
Burghiu elicoidal cu coada cilindrica STAS 4566-80 |
10 |
|
|
Reductie 3/1 STAS252-80 |
Operatia 70:Frezare I

Fig 4.13 Frezare I-reprezentare scule
Tab. 4.20
|
Faza |
Scula |
|
70.1 Frezare canal pana 8x40x |
S8-Freza deget din carbura metalica S 700 58 DIN 6535-HB (codificare MAK080R19J03B08 |
Operatia 80:Frezare II

Fig 4.14 Frezare II-reprezentare scule
Tab. 4.21
|
Faza |
Scula |
|
80.1 Frezare canal pana 6x25x |
S9-Freza disc cu trei taisuri cu dinti drepti STAS 2215/2-86 |
Operatia 90:Rabotare

Fig 4.15 Rabotare-reprezentare scule
Tab. 4.22
|
Faza |
Simbol |
Scula |
|
40.1 Rabotare canal pana 8x65x |
S22 |
Cutit pentru canale de pana STAS 360-67 |
Operatia 110. Rectificare I

Fig 4.16 Rectificare-reprezentare scule
Operatia 120. Rectificare II

Fig 4.17 Rectificare-reprezentare scule
Acest document nu se poate descarca
| E posibil sa te intereseze alte documente despre: |
| Copyright © 2025 - Toate drepturile rezervate QReferat.com | Folositi documentele afisate ca sursa de inspiratie. Va recomandam sa nu copiati textul, ci sa compuneti propriul document pe baza informatiilor de pe site. { Home } { Contact } { Termeni si conditii } |
Documente similare:
|
ComentariiCaracterizari
|
Cauta document |