QReferate - referate pentru educatia ta.
Cercetarile noastre - sursa ta de inspiratie! Te ajutam gratuit, documente cu imagini si grafice. Fiecare document sau comentariu il poti downloada rapid si il poti folosi pentru temele tale de acasa.



AdministratieAlimentatieArta culturaAsistenta socialaAstronomie
BiologieChimieComunicareConstructiiCosmetica
DesenDiverseDreptEconomieEngleza
FilozofieFizicaFrancezaGeografieGermana
InformaticaIstorieLatinaManagementMarketing
MatematicaMecanicaMedicinaPedagogiePsihologie
RomanaStiinte politiceTransporturiTurism
Esti aici: Qreferat » Documente mecanica

Aparate pneumatice speciale



Aparate pneumatice speciale


Contoarele sunt elemente pneumatice avand o structura relativ complexa ce servește la contorizarea (numararea) unor impulsuri pneumatice.

Aplicabilitate foarte mare, permitand gestionarea unor operatii, a pieselor (produselor) iesite de pe linia de fabricatie, montaj, ambalare, etc.



Contorul are un racord de comanda, unde primeste impulsurile ce vor fi numarate, un racord de initializare pneumatica, precum si 2 racorduri A și B ale unui distribuitor 3/2 normal inchis, inclus in structura contorului. Cand termina de numarat impulsurile prestabilite prin functia de setare, contorul se opreste si comanda distribuitorul incorporat, care comuta si genereaza un semnal continuu in racordul B. Contorul isi reia functionarea cand este resetat, iar semnalul din racordul B este anulat.

Modificarea setarii initiale se poate face in timpul functionarii aparatului.

Contoarele sunt de doua feluri:

decrementale: contorul afiseaza numarul de impulsuri prescrise si scade din acest numar fiecare impuls numarat. Cand ajunge la zero se opreste.

incrementale: initial contorul afiseaza zero si aduna impulsurile inregistrate. Cand ajunge la numarul de impulsuri prestabilit prin setare, se opreste.


Capetele de vidare sunt elemente pneumatice care functioneaza dupa principiul Venturi, transformand presiunea dinamica a aerului in depresiune, utilizata ca forta de sustentatie cu ajutorul unor ventuze.

Au o larga utilizare la echipamentele de manipulare in diferite ramuri industriale. Utilizarea acestor elemente simple, fara piese in miscare elimina pompele de vid, costisitoare si pretentioase din instalatie.

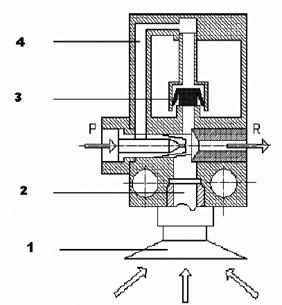
In figura 1 se prezinta un cap de vidare prevazut cu rezervor, care usureaza desprinderea piesei in momentul opririi alimentarii orificiului P. Cand racordul P este alimentat, conform principiului Venturi in orificiul 2 de conectare a ventuzei 1 se creeaza vacuum, iar aerul este evacuat prin R. In acelasi timp, prin orificiul 4 aerul comprimat patrunde in rezervorul capului de vidare prin deformarea elementului elastic 3. In momentul in care transportul piesei s-a efectuat, se opreste alimentarea cu aer a racordului P, care este conectat la atmosfera. Ca urmare, presiunea din rezervor deschide supapa de sens impingand elementul 3 in sus, iar aerul din rezervor este evacuat rapid prin orificiul de conectare al ventuzei, determinand desprinderea acestuia de piesa.


Fig.1. Cap de vidare


Forta de sustentatie este cu atat mai mare cu cat depresiunea creata este mai mare, iar depresiunea variaza in functie de presiunea de alimentare.

Pe masura cresterii presiunii de alimentare creste debitul necesar.

Cu cat este necesara o forta de ridicare mai mare, cu atat necesarul de aer comprimat este mai mare.


Temporizatoarele sunt aparate a caror functie este realizarea unei temporizari in cadrul ciclului de functionare al unei instalatii.

Temporizarea se poate face in mai multe moduri:

- Temporizare intre momentul t0 al initierii comenzii pana in momentul t1 al executiei acestei comenzi.

In figura 2 este prezentat schematic  un temporizator de acest tip, compus din urmatoarele elemente: distribuitorul 3/2 monostabil (normal inchis sau normal deschis) 1, droselul de cale 2 si rezervorul 3.


Fig. 2 Simbol temporizator

Modul de functionare: Racordul P este alimentat cu aer comprimat. In momentul t0 cand racordul 12 este alimentat, prin droselul 2 incepe umplerea lenta a rezervorului 3. Cand in rezervor este atinsa presiunea minima necesara comutarii distribuitorului 1, la momentul t1, acesta comuta si conecteaza orificiu P la A, dupa ce orificiul A a fost izolat fata de R, generand o comanda in instalatie. In momentul in care dispare semnalul de comanda, la t2, din racordul 12, rezervorul se goleste rapid prin supapa de sens si distribuitorul comuta rapid in pozitia initiala.


Temporizare intre momentul t1 cand comanda a fost anulata si momentul t2 cand temporizatorul genereaza in sistem semnalul de anulare a comenzii, deci de incetare a executiei acestei comenzi.

Fig.3

Simbol de temporizare intre momentul t1 si t2

Fig.4.

Diagrama de comutare a temporizatorului si diagrama de variatie a presiunii in rezervor

In figura 3 este prezentat schematic temporizatorul de acest tip, iar in figura 4 diagramele de comutare si de variatie a presiunii in rezervorul 2.


Se observa ca diferenta intre cele doua temporizatoare consta in modul de conectare a supapei de sens.

Temporizare atat de la momentul t0 al initierii comenzii pana la momentul t1 al executiei ei, cat si temporizarea de la momentul t2 al incetarii comenzii pana la momentul t3 cand se produce efectul incetarii comenzii (fig.5).

In figura 6 este prezentat schematic acest temporizator  care are conectate in serie doua drosele de cale, cu supapele in opozitie. Reglarea diferita a celor doua drosele permite obtinerea unor durate de temperatura diferite, adica t1 - t0 t3 - t2.

Fig.5

Diagrama de comutare a temporizatorului si de variatie a presiunii in rezervor

Fig.6

Simbol de temporizator de la t0 la t1







Amortizorul de zgomot

Aceste aparate se moteaza direct pe orificiile de refulare ale distribuitoarelor sau la capatul unei canalizari care colecteaza toate refularile. Ele determina o scadere importanta a nivelului de zgomot la refularea aerului in atmosfera. Rezultatul este obținut prin difuzia aerului la traversarea materialului poros, (bronz) de granualație apropiata.

Amortizorul de zgomot se comporta ca un regulator de debit permițand astfel cotrolarea descarcarii.


Incetinitorul

Aparatul are 2 orificii care permit trecerea libera a fluidului in cele doua sensuri

atunci cand nu este comandat. Cand comanda este acționata, o clapeta vine și obtureaza trecerea normala, fluidul fiind astfel obligat sa treaca printr-un drosel, realizandu-se reducerea debitului de aer.

Rolul aparatului este de a frana mișcarea atunci cand se efectueaza acțiunea.

Montarea aparatului se poate face in doua moduri:

intre distribuitor și cilindru;

la orificiile de descarcare ale unui distribuitor.



Sugestii metodologice:

UNDE PREDAM?

Continutul poate fi predat in laborator sau intr-o sala dotata calculator și videoproiector.


CUM PREDAM?

Prezentarea conținuturilor se poate face prin conversatie euristica, expunere, observatie dirijata, demonstrație, prelucrare independenta a informatiei etc.

Se recomanda utilizarea fiselor de lucru pentru elevi pentru activitatile de fixare a noilor cunostinte.

Se pot utiliza: videoproiectorul, retroproiectorul și tipurile de aparate pneumatice speciale studiate.


ORGANIZAREA CLASEI:

Clasa poate fi organizata frontal sau pe grupe de 4 - 6 elevi.


EVALUAREA CUNOSTINTELOR:

 

Evaluarea se poate realiza prin fisa de evaluare individuala in care elevul sa prezinte simbolurile și funcționarea acestor aparate.




Nu se poate descarca referatul
Acest document nu se poate descarca

E posibil sa te intereseze alte documente despre:


Copyright © 2026 - Toate drepturile rezervate QReferat.com Folositi documentele afisate ca sursa de inspiratie. Va recomandam sa nu copiati textul, ci sa compuneti propriul document pe baza informatiilor de pe site.
{ Home } { Contact } { Termeni si conditii }